大麥理財兩大股東成風險源頭 出借人抱怨回款太慢金融
這段時間,大麥理財有點煩。正在忙于海外上市的高管們,不僅要操心IPO的諸多事宜,還要應付部分股東帶來的意外風險,更要應對出借人回款慢的抱怨。
這段時間,大麥理財有點煩。正在忙于海外上市的高管們,不僅要操心IPO的諸多事宜,還要應付部分股東帶來的意外風險,更要應對出借人回款慢的抱怨。

公開資料顯示,大麥理財是深圳安投惠融互聯網金融服務有限公司打造的互聯網金融信息服務平臺,注冊于深圳前海,于2014年10月12日正式上線。官網數據顯示,目前,平臺累計成交達48.94億元,待收金額為3.22億元。



引“狼”入室
兩大股東成風險“干爹”
目前,大麥理財已經完成五輪融資。
2015年1月,獲風投機構深圳國投資本戰略注資,大麥理財完成A輪融資;2015年11月,獲國資券商長城證券全資子公司長城長富注資,大麥理財完成B輪融資;2016年1月,獲上市公司升達林業注資,大麥理財完成C輪融資。
2018年10月29日,大麥理財宣布確定D輪融資,投資方為黃山磐界投資中心;同時大麥理財還宣布正式啟動納斯達克上市計劃。
2019年1月22日,根據平臺方面消息,大麥理財E1輪(preIPO第一輪)融資已經順利完成,該筆資金將主要用于公司IPO進程中的各項審計開支,助力平臺的上市計劃;同時E2輪融資計劃已經啟動。大麥理財上市計劃正在高效有序地推進中。

不過,大麥理財融資時,引進的不一定都是龍種,也有意想不到的跳蚤。
在大麥理財的投資方中,既有國資背景也有上市公司背景。雄厚的融資背景本該成為平臺的強大背書,不料卻成了平臺最大的風險。

首當其沖的就是大麥理財C輪融資投資方升達林業。
大麥理財官網資料顯示,升達林業(股票代碼002259)成立于1995年3月9日,注冊資本為⒍4億元,是一家從事林業產業一體化經營的上市公司。
四川升達集團名列四川省工業企業最大規模、最大市場占有份額、最大納稅500強,最佳效益200強,成都市工業企業50強之一。升達是強化木地板國家標準和強化木地板中國環境標志產品認證技術要求的主要協助起草單位。
2008年7月16日,四川升達林業產業股份有限公司于深交所正式掛牌上市。
2016年1月25日,升達林業對大麥理財完成了C輪注資。
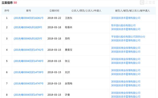
這么一家高大上的企業卻屢次被列為失信被執行人。而且失信被執行人行為具體情形都是:有履行能力而拒不履行生效法律文書確定義務。

根據最近七份生效法律文書確定的義務,四川升達分別需要:支付原告曠志全貨款265912元;向申請執行人支付5025元;向申請執行人支付368152元;向申請執行人支付384075元;向申請執行人支付262730.5元;向原告張國芝支付貨款152504元;歸還申請人貸款本金928.48929萬元。

今年1月25日,四川升達林業產業股份有限公司涉嫌信息披露違法違規,中國證監會決定對公司立案調查。

大麥理財的第二大問題股東,是其A輪融資投資方——深圳國投資本管理有限公司。
據大麥理財官網介紹,深圳國投資本管理有限公司是專門從事基金管理、風險投資、房地產金融、經濟信息咨詢服務等綜合性投資業務的專業機構。
其下屬深圳國投商業保理是國內早期進入商業保理行業的企業之一,也是國內知名的上市公司保理資產提供機構,占據了國內保理資產的半壁江山,并榮獲“全國最佳風險控制獎”等獎項。
2015年8月,深圳國投資本管理有限公司對大麥理財完成了A輪注資。
但是,這位股東最近也開始麻煩纏身。



據信息披露,此前,深圳國投商業保理有限公司與深圳國投供應鏈管理有限公司均為大麥理財的理財關聯方,分別推薦保理資產、供應鏈資產向大麥理財出借人借款。不過,按照金融監管部門的整改要求,自去年以來,相關保理資產、供應鏈資產已停發并陸續清退。
回款慢
被詬病最多
在資產選擇上,大麥理財上線初期就主打供應鏈金融項目。大麥理財表示,供應鏈金融資產也是平臺今年重點發展的資產項目,將重點拓展三農項目、基建行業、能源項目領域。
目前,大麥理財上線的產品主要有麥田計劃、麥分期、麥荷包。其中,麥田計劃主要為供應鏈金融,借款企業大多用于企業經營;麥分期主要為消費金融,借款人主要為借款自然人,借款用途主要用于購買車輛或其他個人消費。
麥荷包為大麥理財上線的自動投標工具。由出借者授權,“麥荷包”即啟動優先匹配投標,投資的范圍是平臺上所有募集的項目,包括麥分期、企業借款和個人借款。


用戶將資金加入麥荷包委托投標工具后,將會有一個自動匹配平臺項目的過程,這個過程稱為匹配期。目前,約定的匹配期為2天。持有期將由匹配期完成后開始計算。
在麥荷包持續鎖定期間內,工具約定年化利率逐月遞增,持續服務時間越長參考回報越高。持續服務時間對應的工具約定年化利率如下表:

自推出以來,麥荷包屢遭用戶詬病,最大的問題就是回款慢。



使用麥荷包需要注意的是:雖然麥荷包出借項目大部分由第三方擔保機構提供無限連帶責任擔保,但是大麥理財僅作為信息發布平臺,不對債權轉讓完成的時間以及債權轉讓能否全部成功實現做出任何承諾,出借人債權轉讓申請未成功完成的將繼續持有債權,直到債權到期退出為止。
更需要注意的是:一旦發起債權轉讓,則該筆債權轉讓不可撤銷,直至債權完全轉出為止。而且,平臺給出的參考回報不代表對實際利息回報的承諾,出借人需自行承擔資金出借的風險與責任。
大麥理財披露的逾期數據顯示,目前,平臺逾期90天(含)以下的金額為3423.7萬,逾期率為1.47%,逾期91天以上的沒有。

1.TMT觀察網遵循行業規范,任何轉載的稿件都會明確標注作者和來源;
2.TMT觀察網的原創文章,請轉載時務必注明文章作者和"來源:TMT觀察網",不尊重原創的行為TMT觀察網或將追究責任;
3.作者投稿可能會經TMT觀察網編輯修改或補充。
