快看漫畫還在努力講故事互聯網+
被資本看好的快看漫畫同樣占據著移動互聯網時代的發展紅利,而快看漫畫的大多數漫畫的形式是條漫,對于長視頻、漫畫、網文等內容平臺來說。

快看漫畫,伴隨著“故事”成立。
創始人陳安妮是一名漫畫作者,其微博賬號@偉大的安妮某天在微博上發布了一則條漫《對不起,我只過1%的生活》,宣告了快看漫畫成立。用漫畫宣告平臺成立,可以說是屬于漫畫作者獨有的儀式感。
近幾年的年中,快看創始人陳安妮總要出來講講故事。
去年8月份,快看漫畫舉辦了產品升級發布會,宣布正式升級為快看,并推出全新產品漫劇,表示接下來快看將持續深耕國漫生態,打造“超新Z世代”聚集的創作社區。
今年7月中旬,快看再次舉行了國漫發布會,創始人陳安妮發表了《漫畫,我們是專業的》主題演講,分享了快看最新業務進展,還發布了共計192部IP的暑期片單。
時隔一年,快看去掉“漫畫”之后成效到底如何?漫劇、社區有達到快看預想的成果嗎?
資本寵兒,時代紅利
快看成立于2014年,成立8年來,取得了不錯的成績。去年8月份,快看宣布已經累積了3.4億總用戶,月活躍用戶接近5000萬,超過行業第二名至第六名之和。
從快看這些年的發展來看,其能崛起主要有以下兩方面的原因:
一是資本“寵兒”。
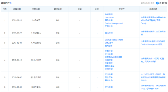
快看自成立以來,就頗受一級市場投資方青睞。
據天眼查顯示,快看如今已經經歷6輪融資,幾乎一年一輪,其中不乏紅杉中國、字節跳動、騰訊、天圖投資等知名資本方。去年8月份宣布完成的2.4億美元戰略投資,是快看生涯中最大單筆融資,同時也再次刷新漫畫行業融資額紀錄。

二是時代紅利。
時代發展對傳播方式、傳播媒介、閱讀習慣等方面的改變,往往也間接影響著漫畫平臺的發展。紙媒時代的《知音漫客》,PC互聯網時代的有妖氣,都隨著移動互聯網時代的到來逐漸沉寂。
快看從成立到崛起,占據了移動互聯網時代的發展紅利。
一方面,移動互聯網時代的去中心化讓自媒體得以發展,人人都有發聲的機會與平臺。創始人陳安妮本身就是一名網紅,其在微博發布的《對不起,我只過1%的生活》不到24小時閱讀量超過了6000萬,轉發量超過42萬,初上線的快看漫畫APP獲得大量引流。同時,首批入駐快看漫畫的郭斯特、使徒子等作者,同樣是百萬級粉絲博主。
另一方面,智能手機的出現極大的改變了人們的閱讀習慣。承載人們閱讀的硬件從書、電腦轉移到手機。而傳統翻頁閱讀漫畫的方式也轉變為從上至下。創作者也根據人們的閱讀習慣推出“條漫”這一漫畫形式。
條漫不僅更符合移動互聯網時代人們的碎片化閱讀,傳統頁漫復雜的漫畫分鏡設計也成為過去式,降低了創作漫畫的門檻。而快看漫畫的大多數漫畫的形式是條漫,符合人們閱讀習慣,創作門檻的降低也提升了供給端的供給。
被資本看好的快看漫畫同樣占據著移動互聯網時代的發展紅利,成為了漫畫賽道中的獨角獸。
提升月活,手執“雙刃劍”
根據CIC灼識咨詢發布的《中國二次元內容行業白皮書》顯示,2021 年快看市場占有率超過 50%,月活始終保持在漫畫平臺頭名。不過,從歷史數據來看,快看的月活并不穩定。
據數據服務商QuestMobile發布《移動互聯網2017年Q2夏季報告》顯示,快看漫畫于2017年月活用戶數就突破了3000萬,在漫畫行業排名第一。而據易觀千帆統計,快看APP在2020年從6月至11月的半年內,月活躍人數從3991.1萬人升至4591.4萬人后斷崖式跌至2446.3萬,環比跌幅一度為35.60%。
或許快看也清楚自己的癥結所在,去年快看產品升級發布會上提出的押注漫劇、打造社區,無疑都是提升月活用戶數、用戶粘性的手段。
一方面,漫劇是繼“條漫”之后,快看又一順應時代的做法。
據QuestMobile發布《2022中國移動互聯網半年大報告》顯示,短視頻用戶總時長占中國移動互聯網用戶使用總時長占比近30%,各行業應用均在加強短視頻內容版塊的構建。

快看的漫劇是在漫畫的基礎上,還原漫畫分鏡,輔以聲音轉變為視頻,具有豎屏下滑的觀看方式、單集3分鐘等特點,是介于漫畫和動畫之間的一種藝術表現形式。漫劇可以視為快看構建的短視頻板塊之一,更符合當下人們的閱讀習慣。
另一方面,打造社區也是互聯網應用“自古以來”提升用戶粘性的方式。
社區,注重的是人與人之間的交流。為人與人之間的連接提供平臺,自然能提升人們在應用中的使用時長。工具類、電商類、資訊類等互聯網應用均有轉型或在應用內嘗試打造社區。
快看以漫畫讀者為基礎,形成三坑、谷圈、同人、COS等小眾圈層。社區用戶會為自己喜歡的IP內容創作同人圖、同人文、視頻等內容,也會根據相同的愛好尋找相應的圈子。在B站等小眾應用努力破圈走向大眾時,快看的社區也算是給了小眾圈子一個聚集的場所。

不過,這兩種提升月活用戶的方式,帶給快看的并不是只有好處。
一方面,漫劇從本質上來說其實就是動態漫畫。這一形式在2015年就掀起過一股熱潮,2019年迎來爆發式增長,在愛奇藝、優酷、嗶哩嗶哩、騰訊動漫、貓耳FM、抖音等平臺均有出現。
而相較于動畫來說,動態漫制作成本低,在很多人心中的固有印象是劣質的“ppt動畫”,是不太追求質量的人才會去看的作品,多數動態漫畫也只能宣傳重點放在CV(聲音演員)。同時,如今條漫改編的漫劇分鏡設計原本就是從上往下,不如頁漫分鏡精彩,作品質量難談上乘。
快看是用隱藏在各大平臺且作品質量較低的動態漫包裝成漫劇,向資本講了一個看上去很新的故事。
另一方面,打造UGC內容社區,必定伴隨著一定的內容風險。
曾經的猿輔導、作業幫、學霸君等學習類APP在打造社區時就曾傳出過涉黃傳聞而不得不放棄打造社區。而快看打造社區的基本盤恰好在經常與軟色情沾邊,且被監管部分重點監督的泛二次元領域,極其考驗快看對內部社區的審查管理能力。
值得一提的是,我們可以發現,快看的會員增值服務同樣是提升月活的手段。快看用簽到領KK幣等手段,提升用戶打開快看的頻率。不過,由于購買會員還要付費解鎖章節,且VIP用戶領取的KK幣限時,導致用戶體驗極差,引來用戶的反感。
快看想增加月活用戶數,提升用戶粘性,讓月活用戶更加穩定,但采取的措施很明顯都是“雙刃劍”。根據易觀千帆今年2月漫畫類App的月活排名,快看的月活還在3500萬左右徘徊,今年年中的發布會上,快看也沒有像去年一樣公布自己的用戶量以及月活用戶數。
商業化動作頻頻,優質內容不見增長
快看想要通過一系列操作想要提升月活的原因,本質上還是為了提升自己的商業化能力。
在傳統認知中,整個互聯網行業,流量為王。流量不僅包含用戶數,還包括用戶時長、用戶粘性、付費意愿和能力等。
用戶數量、用戶時長、用戶粘性的提升,可以幫助快看通過廣告變現。而付費意愿和能力則可以讓快看通過漫畫章節直接變現,這部分的盈利空間=用戶數*付費率*ARPU值。
快看最開始以免費漫畫為主,吸引了大量用戶,但隨著商業化動作的增多,彈屏廣告、看廣告解鎖章節、付費漫畫變多等動作很影響用戶的使用體驗。
在付費意愿和能力方面,快看將自己的用戶稱為“超新Z世代”,相較于Z世代更加年輕。其實就是快看的用戶多是未成年。未成年人沒有足夠的判斷力,且未成年人消費容易引發多種衍生問題。在黑貓投訴等平臺可以發現,有關快看的投訴很多都是與未成年人充值退費相關。

另外,漫畫這一載體本身限制了快看的發展。漫畫更新時間長,用戶看完一話后就會進入等待期,隔一段時間才會重新打開漫畫APP,也會有一些用戶會攢著更新章節一起看,快看的活躍用戶自然就不穩定。所以快看在做漫畫之外,才會做社區、漫劇等來留住用戶,提升流量池容納空間,繼而提升自身的商業化想象空間。
在快看創始人陳安妮接受藍鯨財經等記者的采訪中,其表明漫畫業務兩年前已經盈利,并表示要做國漫界的奈飛。在36氪的采訪中,陳安妮對出海業務的規劃的回答又表述為類似于迪士尼的樂園,先聚焦做內容平臺,當內容有影響力之后,再把KK World(快看的線下漫展)等這類的IP嘗試搬過去。
快看需要“故事”來打動投資者,但不管是奈飛還是迪士尼,內容是最重要的。對于長視頻、漫畫、網文等內容平臺來說,本身并不具有用戶粘性,內容才是掌握流量的根本。不過,從快看近些年的表現來看,在內容方面有些差強人意。
從IP孵化角度來看,快看成立以來出圈的IP僅有一部多年前的《快把我哥帶走》。
一方面,近些年快看雖然說重視作者、扶持作者,但產出的內容卻越來越小眾,平臺內被大量耽美、瑪麗蘇等內容占據,快餐式的漫畫充斥平臺,這些內容自然做不到出圈。
另一方面,快看平臺的原創IP數量開始減少。去年快看宣布的 150 部漫劇中,只有 59 部是漫畫平臺原創。今年年中發布會發布的暑期片單中,52部漫劇中也多是網文IP改編,快看有淪為網文改編下游趨勢。同時,快看收到韓國資本投資后,平臺內韓漫也多了起來。
相較于《知音漫客》的《偷星九月天》、《星海鏢師》,有妖氣的《十萬個冷笑話》、《鎮魂街》,騰訊動漫的《狐妖小紅娘》、《一人之下》,快看的內容仍有很大的進步空間。
總的來說,快看漫畫占據了時代紅利而崛起,但如今提升月活的方式卻都是“雙刃劍”,且隨著商業化動作的增加,用戶體驗也在持續下降,內容也沒有足夠的優勢。
相較于如今繁雜的快看APP,或許老用戶們,更懷念當初1%夢想的純粹。
1.TMT觀察網遵循行業規范,任何轉載的稿件都會明確標注作者和來源;
2.TMT觀察網的原創文章,請轉載時務必注明文章作者和"來源:TMT觀察網",不尊重原創的行為TMT觀察網或將追究責任;
3.作者投稿可能會經TMT觀察網編輯修改或補充。
